
CQ系列耐腐蝕磁力泵
1、磁力泵應水平安裝,不宜豎立,塑料泵體不得承受管路重量,對于特殊要求垂直安裝的場合,電機務必朝 上。
2、當抽吸液面高于泵軸心線時,起動前打開吸入管道閥門即可,若抽吸液面低于泵軸心線時,管道需配備底 閥。
3、泵使用前應進行檢查,電機風葉轉動要靈活,無卡住無異常聲響,各緊固件要緊固。
4、檢查電機旋轉方向是否與磁力泵轉向標記一致。
5、電機啟動后,緩慢打開排出閥,待泵進入正常工作狀態后,再將排出閥調到所需開度。
6、泵停止工作前,應先關閉排出閥門,然后關閉吸入管閥門。
目錄
CQ系列耐腐蝕磁力泵概述
CQ型磁力驅動泵(簡稱磁力泵)是將永磁聯軸器的工作原理用于離心泵的新產品,設計合理,工藝先進,具有全密封、無泄漏、耐腐蝕的特點,其性能達到國外同類產品的先進水平。磁力泵以靜密封取代動密封,使泵的過流部件處于完全密封狀態,徹底解決了其它泵的機械密封無法避免的跑、冒、滴之弊病,磁力泵選用耐腐蝕、高強度的工程塑料、鋼玉陶瓷、不銹鋼作為制造材料,因此它具有良好的抗腐蝕性能,并可以使輸送介質免受污染。
磁力泵結構緊湊、外形美觀、體積小、噪聲低、運行可靠、使用維修方便。可廣泛用于化工、制藥、石油、電鍍、食品、電影照相洗印、科研機構、國防工業等單位抽送酸、堿液、油類、稀有貴重液、毒液、揮發性液體、以及循環水設備配套、過濾機配套。特別是易漏、易燃、易爆液體的抽送,選用此泵則更為理想。
CQ系列耐腐蝕磁力泵型號意義
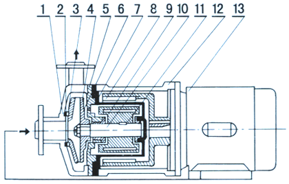
CQ系列耐腐蝕磁力泵結構圖
| 1 | 泵殼 | 2 | 靜環 | 3 | 動環 | 4 | 葉輪 | 5 | 密封圈 | 6 | 隔板 | 7 | 隔離套 |
| 8 | 外磁鋼總成 | 9 | 內磁鋼總成 | 10 | 泵軸 | 11 | 軸套 | 12 | 聯接架 | 13 | 電機 | 14 |
CQ系列耐腐蝕磁力泵安裝尺寸表
| 型號 | a | b | c | d | e | f | g | h | j | a | k | m | n | 機座 螺孔 | p | p1 | q | q1 | φ | φ | 管 子 連 接 |
| 08CQ-2 | 63 | 48 | 45 | 55 | 38 | 200 | 105 | 45 | 15 | 84 | 80 | 24 | 16 | φ6 | - | - | - | - | - | - | |
| 10CQ-3 | 63 | 48 | 45 | 55 | 38 | 200 | 105 | 45 | 15 | 84 | 80 | 24 | 16 | φ6 | - | - | - | - | - | - | |
| 14CQ-5 | 90 | 71 | 95 | 107 | 53 | 270 | 120 | 56 | 16 | 130 | 130 | 37 | 18 | φ7 | - | - | - | - | - | - | |
| 16CQ-8 | 90 | 70 | 80 | 125 | 55 | 320 | 160 | 65 | 18 | 115 | 140 | 40 | 22 | φ11 | - | - | - | - | - | - | |
| 20CQ-12 | 100 | 80 | 105 | 130 | 59.5 | 340 | 160 | 73 | 18 | 130 | 160 | 65 | 26 | φ12 | - | - | - | - | - | - | |
| 25CQ-15 | 125 | 100 | 140 | 189.5 | 67.5 | 460 | 205 | 90 | - | 160 | 240 | 71.5 | - | φ12 | 75 | 65 | 100 | 90 | 120 | 10 | 法 蘭 連 接 |
| 32CQ-15 | 125 | 100 | 140 | 189.5 | 67.5 | 460 | 205 | 90 | - | 160 | 240 | 71.5 | - | φ12 | 90 | 75 | 120 | 100 | 12 | 10 | |
| 32CQ-25 | 125 | 100 | 140 | 189.5 | 67.5 | 460 | 230 | 90 | - | 160 | 260 | 85 | - | φ12 | 90 | 75 | 120 | 100 | 12 | 10 | |
| 40CQ-20 | 140 | 120 | 155 | 235 | 75 | 545 | 220 | 100 | - | 180 | 290 | 78.5 | - | φ12 | 100 | 90 | 130 | 120 | 14 | 14 | |
| 40CQ-32 | 190 | 140 | 190 | 271 | 80 | 620 | 260 | 112 | - | 245 | 336 | 91 | - | φ12 | 100 | 90 | 130 | 120 | 14 | 14 | |
| 50CQ-25 | 190 | 140 | 190 | 271 | 80 | 620 | 260 | 112 | - | 245 | 336 | 91 | - | φ12 | 110 | 100 | 140 | 130 | 14 | 14 | |
| 50CQ-40 | 190 | 140 | 190 | 271 | 80 | 620 | 260 | 112 | - | 245 | 336 | 91 | - | φ12 | 110 | 100 | 140 | 130 | 14 | 14 | |
| 65CQ-25 | 216 | 140 | 200 | 305 | 90 | 695 | 300 | 132 | - | 280 | 350 | 91 | - | φ12 | 130 | 110 | 160 | 140 | 14 | 14 | |
| 65CQ-35 | 216 | 140 | 200 | 360 | 76 | 720 | 292 | 120 | - | 280 | 350 | 90 | - | φ12 | 130 | 110 | 160 | 140 | 14 | 14 | |
| 80CQ-35 | 254 | 210 | - | - | - | 890 | 160 | - | - | - | - | - | φ12 | - | - | - | - | 14 | 14 | ||
| 80CQ-50 | 254 | 210 | - | - | - | 890 | 160 | - | - | - | - | - | φ12 | - | - | - | - | 14 | 14 |
CQ系列耐腐蝕磁力泵安裝使用
1、磁力泵應水平安裝,不宜豎立,塑料泵體不得承受管路重量,對于特殊要求垂直安裝的場合,電機務必朝 上。
2、當抽吸液面高于泵軸心線時,起動前打開吸入管道閥門即可,若抽吸液面低于泵軸心線時,管道需配備底 閥。
3、泵使用前應進行檢查,電機風葉轉動要靈活,無卡住無異常聲響,各緊固件要緊固。
4、檢查電機旋轉方向是否與磁力泵轉向標記一致。
5、電機啟動后,緩慢打開排出閥,待泵進入正常工作狀態后,再將排出閥調到所需開度。
6、泵停止工作前,應先關閉排出閥門,然后關閉吸入管閥門。
CQ系列耐腐蝕磁力泵使用注意事項
1、因磁力泵軸承的冷卻和潤滑是靠被輸送的介質,所以絕對禁止空動轉,同時避免在工作中途停電后再啟動時 所造成時空載運轉。
2、被輸送介質中,若含有固體顆粒,泵入口要加過濾網:如含有鐵磁質微粒,需加磁性過濾器。
3、泵在使用中環境溫度應小于40℃,電機溫升不得超過75℃。
4、被輸送的介質及其溫度應在泵材允許范圍內(詳見附表)。工程塑料泵的使用溫度<60℃,金屬泵的使用溫 度<100℃,輸送吸入壓力不大于0.2mpa,大工作壓力1.6mpa、密度不大于1600kg/m3,粒度不大于30×10- 6m2/s的不含硬顆粒和纖維的液體。
5、對于輸送液為易沉淀結晶的介質,使用后應及時清洗,排凈泵內積液。 6、磁力泵運行500小時后,應拆檢軸承和端面動環的磨損情況,若軸承和軸套的間隙大于0.5~1mm,葉輪軸向 竄動1.5~2mm時,應 更換軸承和軸向動環。
CQ系列耐腐蝕磁力泵故障排除方法
| 故障形式 | 產生原因 | 排除方法 |
| 泵不出水 | 1、水泵反轉 | 改變電機接線 |
| 2、進水管道漏氣 | 杜絕漏氣 | |
| 3、泵腔蓄水太少 | 增加蓄水量 | |
| 4、電壓太高,啟動時聯軸器打滑 | 調正電壓 | |
| 5、吸程太高 | 降低砂安裝位置 | |
| 流量不足 | 1、吸入管徑太小 | 調換進水管 |
| 2、葉輪流道阻塞 | 清洗葉輪 | |
| 3、揚程過高 | 開大出水閥 | |
| 4、轉速太低 | 恢復額定轉速 | |
| 揚程過低 | 1、流量過大 | 關小出水閥 |
| 2、轉速太低 | 恢復額定轉速 | |
| 噪音太大 | 1、軸嚴重磨損 | 更換泵軸 |
| 2、軸套嚴重磨損 | 更換軸套 | |
| 3、驅動磁鋼杯與隔離套接觸 | 拆除泵頭重新組裝 | |
| 漏液 | o型密封圈損壞 | 更換o型密封圈 |
CQ系列耐腐蝕磁力泵性能參數表
| 型 號 | 口徑(mm) | 流量 (m3/h) | 揚程 (m) | 汽蝕余量 (npsh)r(m) | 電機功率 (kw) |
轉速 (r/min) |
電源電壓 (v) | |
| 進口 | 出口 | |||||||
| 14CQ-5 | 14 | 10 | 1.2 | 5 | 6.0 | 0.12 | 2900 | 220/380 |
| 16CQ-8 | 16 | 12 | 1.8 | 8 | 6.0 | 0.18 | 220/380 | |
| 20CQ-12 | 20 | 12 | 3 | 12 | 6.0 | 0.37 | 380 | |
| 25CQ-15 | 25 | 20 | 5.4 | 15 | 6.0 | 1.10 | 380 | |
| 32CQ-15 | 32 | 25 | 6.6 | 15 | 6.0 | 1.10 | 380 | |
| 32CQ-25 | 32 | 25 | 4.8 | 25 | 5.5 | 1.10 | 380 | |
| 40CQ-20 | 40 | 32 | 10.8 | 20 | 4.0 | 2.2 | 380 | |
| 40CQ-32 | 40 | 32 | 11.5 | 32 | 4.0 | 4 | 380 | |
| 50CQ-25 | 50 | 40 | 14.4 | 25 | 4.0 | 4 | 380 | |
| 50CQ-40 | 50 | 40 | 13.2 | 40 | 4.0 | 4 | 380 | |
| 50CQ-50 | 50 | 32 | 7.8 | 50 | 4.0 | 5.5 | 380 | |
| 65CQ-25 | 65 | 50 | 16.8 | 25 | 4.0 | 5.5 | 380 | |
| 65CQ-32 | 65 | 50 | 27 | 32 | 4.0 | 7.5 | 380 | |











