
ISW型防爆不銹鋼臥式管道泵|不銹鋼單級離心泵
運行平穩:泵軸的絕對同心度及葉輪優異的動靜平衡,保證平穩運行,絕無振動。
滴水不漏:不同材質的硬質合金密封,保證了不同介質輸送均無泄漏。
噪音低:兩個低噪音軸承支撐下的水泵,運轉平穩,除電機微弱聲響,基本無噪音。
故障率低:結構簡單合理,關鍵部分采用國際一流品質配套,整機無故障工作時間大大提高。
維修方便:更換密封、軸承,簡易方便。
占地更省:出口可向左、向右、向上三個方向,便于管道布置安裝,節省空間。
目錄
臥式管道泵概述
ISW型臥式管道泵,是本單位科技人員聯合國內水泵專家選用國內優秀水力模型,采用IS型離心泵之性能參數,在一般臥式泵的基礎上進行巧妙組合設計而成,同時根據使用溫度、介質等不同在ALG型基礎上派生出適用熱水、高溫耐腐蝕化工泵、油泵。該系列臥式管道泵產品具有高效節能、噪音低、性能可靠等優點,符合新國家機械部JB/T53058-93的標準要求,產品按國際ISO2858標準設計制造。
臥式管道泵型號意義
臥式管道泵主要用途
1、ISW臥式清水泵,供輸送清水及物理化學性質類似于清水的其它液體之用,適用于工業和城市給排水、高層建筑增壓送水、園林噴灌、消防增壓、遠距離輸送、暖通制冷循環、浴室等冷暖水循環增壓及設備配套,使用溫度T≤80℃。
2、ISWR臥式熱水泵,廣泛適用于:冶金、化工、紡織、造紙以及賓館飯店等鍋爐熱水增壓循環輸送及城市采暖系統,ALWR型使用溫度T≤120℃。
3、ISWH臥式化工泵,供輸送不含固體顆粒,具有腐蝕性。粘度類似于水的液體,適用于石油、化工、冶金、電力、造紙、食品、制藥和合成纖維等部門,使用溫度為-20℃~+120℃。
4、ISWY臥式管道油泵,供輸送汽油、煤油、柴油等油類產品或易燃、易爆液體,被輸送介質溫度為-20℃~120℃。
5、ISWHY型臥式不銹鋼防爆化工離心泵,適用于輸送易燃性化工液體。
6、ISWD臥式低轉速泵,適應要求環境噪聲很低的場合,使用溫度T≤120℃。
臥式管道泵工作條件
1.吸入壓力≤1.0MPa,或泵系統高工作壓力≤1.6MPa,即吸入口壓力+泵揚程≤1.6MPa、泵靜壓試驗壓力為≤2.5MPa,訂貨時請注明系統工作壓力。泵系統工作壓力大于1.6MPa時應在訂貨時另行提出,以便在制造時泵的過流部分和聯接部分采用鑄鋼材料。
2.環境溫度<40℃,相對濕度<40%。
3.所輸送介質中固體顆粒體積含量不超過單位體積的0.1,粒度<0.2mm。
注:如果用介質為帶有細小顆粒,請在訂貨時說明,以便廠家采用耐磨式機械密封。
臥式管道泵特點
運行平穩:泵軸的絕對同心度及葉輪優異的動靜平衡,保證平穩運行,絕無振動。
滴水不漏:不同材質的硬質合金密封,保證了不同介質輸送均無泄漏。
噪音低:兩個低噪音軸承支撐下的水泵,運轉平穩,除電機微弱聲響,基本無噪音。
故障率低:結構簡單合理,關鍵部分采用國際一流品質配套,整機無故障工作時間大大提高。
維修方便:更換密封、軸承,簡易方便。
占地更省:出口可向左、向右、向上三個方向,便于管道布置安裝,節省空間。
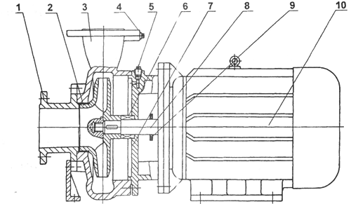
臥式管道泵結構圖
|
|
1 |
吸入室:采用優秀水力模型設計而成。 |
|
2 |
葉 輪:采用優秀水力模型設計而成,高效節能。 |
|
|
3 |
泵 體:采用優秀水力模型設計而成。 |
|
|
4 |
取壓塞:安裝壓力表及真空表,以監控泵的正常高效運行。 |
|
|
5 |
放氣塞:確保泵的正常維護。 |
|
|
6 |
機械密封:采用不銹鋼、硬質合金、氟橡膠等材料制成,耐用消費品磨損,無泄漏,運行壽命長。 |
|
|
7 |
泵 蓋: |
|
|
8 |
泵 軸:為電機加長軸,確保了軸的同心,使運行平穩,無噪音和振動現象。 |
|
|
9 |
擋水圈:防止因密封漏水而使電機進水。 |
|
|
10 |
Y系列電動機:直接與水泵聯接傳遞動力,部分采用上海名牌電機。 |
性能參數
| 型號 | 口徑 | 流量 | 揚程 | 效率 | 轉速 | 電機功率 | 必需汽蝕余量 | |
| mm | m3/h | L/S | m | % | r/min | KW | (NPSH)r | |
| 15-80 | 15 |
1.1 1.5 2.0 |
0.3 0.42 0.55 |
8.5 8 7 |
26 34 34 |
2800 | 0.18 | 2.3 |
| 20-110 | 20 |
1.8 2.5 3.3 |
0.5 0.69 0.91 |
16 15 13.5 |
25 34 35 |
2800 | 0.37 | 2.3 |
| 20-160 | 20 |
1.8 2.5 3.3 |
0.5 0.69 0.91 |
33 32 30 |
19 25 23 |
2900 | 0.75 | 2.3 |
| 25-110 | 25 |
2.8 4 5.2 |
0.78 1.11 1.44 |
16 15 13.5 |
34 42 41 |
2900 | 0.55 | 2.3 |
| 25-125 | 25 |
2.8 4 5.2 |
0.78 1.11 1.44 |
20.6 20 18 |
28 36 35 |
2900 | 0.75 | 2.3 |
| 25-125A | 25 |
2.5 3.6 4.6 |
0.69 1.0 1.28 |
17 16 14.4 |
35 | 2900 | 0.55 | 2.3 |
| 25-160 | 25 |
2.8 4 5.2 |
0.78 1.11 1.44 |
33 32 30 |
24 32 33 |
2900 | 1.5 | 2.3 |
| 25-160A | 25 |
2.6 3.7 4.9 |
0.12 1.03 1.36 |
29 28 26 |
31 | 2900 | 1.1 | 2.3 |
| 型號 | 口徑 | 流量 | 揚程 | 效率 | 轉速 | 電機功率 | 必需汽蝕余量 | |
| mm | m3/h | L/S | m | % | r/min | KW | (NPSH)r | |
| 32-100(I) | 32 |
4.4 6.3 8.3 |
1.22 1.75 2.32 |
13.2 12.5 11.3 |
48 54 53 |
2900 | 0.75 | 2.0 |
| 32-125 | 32 |
3.5 5 6.5 |
0.97 0.39 1.8 |
22 20 18 |
40 44 42 |
2900 | 0.75 | 2.3 |
| 32-125A | 32 |
3.1 4.5 5.8 |
0.86 1.25 1.61 |
17.6 16 14.4 |
43 | 2900 | 0.55 | 2.3 |
| 32-160(I) | 32 |
4.4 6.3 8.3 |
1.22 1.75 2.32 |
33.2 32 30.2 |
34 40 42 |
2900 | 2.2 | 2.0 |
| 32-200(I) | 32 |
4.4 6.3 8.3 |
1.22 1.75 2.32 |
50.5 50 48 |
26 33 35 |
2900 | 4 | 2.0 |
| 32-200A | 32 |
2.8 4 5.2 |
0.78 1.11 1.44 |
44.6 44 42.7 |
34 40 42 |
2900 | 2.2 | 2.0 |
| 型號 | 口徑 | 流量 | 揚程 | 效率 | 轉速 | 電機功率 | 必需汽蝕余量 | |
| mm | m3/h | L/S | m | % | r/min | KW | (NPSH)r | |
| 40-100 | 40 |
4.4 6.3 8.3 |
1.22 1.75 2.31 |
13.2 12.5 11.3 |
48 54 53 |
2900 | 0.55 | 2.3 |
| 40-100A | 40 |
3.9 5.6 7.4 |
1.08 1.56 2.06 |
10.6 10 9 |
52 | 2900 | 0.37 | 2.3 |
| 40-125 | 40 |
4.4 6.3 8.3 |
1.22 1.75 2.31 |
21 20 18 |
41 46 43 |
2900 | 1.1 | 2.3 |
| 40-125A | 40 |
3.9 5.6 7.4 |
1.08 1.56 2.06 |
17.6 16 14.4 |
40 45 41 |
2900 | 0.75 | 2.3 |
| 40-160 | 40 |
4.4 6.3 8.3 |
1.22 1.75 2.31 |
33 32 30 |
35 40 40 |
2900 | 2.2 | 2.3 |
| 40-160A | 40 |
4.1 5.9 7.8 |
1.14 1.64 2.17 |
29 28 26.3 |
34 39 39 |
2900 | 1.5 | 2.3 |
| 40-160B | 40 |
3.8 5.5 7.2 |
1.06 1.53 2.0 |
25.5 24 22.5 |
34 38 37 |
2900 | 1.1 | 2.3 |
| 40-200 | 40 |
4.4 6.3 8.3 |
1.22 1.75 2.31 |
51 50 48 |
26 33 32 |
2900 | 4 | 2.3 |
| 40-200A | 40 |
4.1 5.9 7.8 |
1.14 1.64 2.17 |
45 44 42 |
26 31 30 |
2900 | 3 | 2.3 |
| 40-200B | 40 |
3.7 5.3 7.0 |
1.03 1.47 1.94 |
38 36 34.5 |
29 | 2900 | 2.2 | 2.3 |
| 40-250 | 40 |
4.4 6.3 8.3 |
1.22 1.75 2.31 |
82 80 74 |
24 28 28 |
2900 | 7.5 | 2.3 |
| 40-250A | 40 |
4.1 5.9 7.8 |
1.14 1.64 2.17 |
72 70 65 |
24 28 27 |
2900 | 5.5 | 2.3 |
| 40-250B | 40 |
3.8 5.5 7.0 |
1.06 1.53 1.94 |
61.5 60 56 |
23 27 26 |
2900 | 4 | 2.3 |
| 型號 | 口徑 | 流量 | 揚程 | 效率 | 轉速 | 電機功率 | 必需汽蝕余量 | |
| mm | m3/h | L/S | m | % | r/min | KW | (NPSH)r | |
| 40-100(I) | 40 |
8.8 12.5 16.3 |
2.44 3.47 4.53 |
13.2 12.5 11.3 |
55 62 60 |
2900 | 1.1 | 2.3 |
| 40-100(I)A | 40 |
8 11 14.5 |
2.22 3.05 4.03 |
10.6 10 9 |
60 | 2900 | 0.75 | 2.3 |
| 40-125(I) | 40 |
8.8 12.5 16.3 |
2.44 3.47 4.53 |
21.2 20 17.8 |
49 58 57 |
2900 | 1.5 | 2.3 |
| 40-125(I)A | 40 |
8 11 14.5 |
2.22 3.05 4.03 |
17 16 14 |
57 | 2900 | 1.1 | 2.3 |
| 40-160(I) | 40 |
8.8 12.5 16.3 |
2.44 3.47 4.53 |
33 32 30 |
45 52 51 |
2900 | 3 | 2.3 |
| 40-160(I)A | 40 |
8.2 11.7 15.2 |
2.28 3.25 4.22 |
29 28 26 |
44 51 50 |
2900 | 2.2 | 2.3 |
| 40-160(I)B | 40 |
7.3 10.4 13.5 |
2.38 2.89 3.75 |
23 22 20.5 |
50 | 2900 | 1.5 | 2.3 |
| 40-200(I) | 40 |
8.8 12.5 16.3 |
2.44 3.47 4.53 |
51.2 50 48 |
38 46 46 |
2900 | 5.5 | 2.3 |
| 40-200(I)A | 40 |
8.3 11.7 15.3 |
2.31 3.25 4.25 |
45.0 44 42 |
37 45 45 |
2900 | 4 | 2.3 |
| 40-200(I)B | 40 |
7.5 10.6 13.8 |
2.08 2.94 3.83 |
37 36 34 |
44 | 2900 | 3 | 2.3 |
| 40-250(I) | 40 |
8.8 12.5 16.3 |
2.44 3.47 4.53 |
81.2 80 77.5 |
31 38 40 |
2900 | 11 | 2.3 |
| 40-250(I)A | 40 |
8.2 11.6 15.2 |
2.28 3.22 4.22 |
71.0 70 68 |
38 | 2900 | 7.5 | 2.3 |
| 40-250(I)B | 40 |
7.6 10.8 14 |
2.11 3.0 3.89 |
61.4 60 58 |
37 | 2900 | 7.5 | 2.3 |
| 40-250(I)C | 40 |
7.1 10.0 13.1 |
1.97 2.78 3.64 |
53.2 52 50.4 |
36 | 2900 | 5.5 | 2.3 |
| 型號 | 口徑 | 流量 | 揚程 | 效率 | 轉速 | 電機功率 | 必需汽蝕余量 | |
| mm | m3/h | L/S | m | % | r/min | KW | (NPSH)r | |
| 50-100 | 50 |
8.8 12.5 16.3 |
2.44 3.47 4.53 |
13.6 12.5 11.3 |
55 62 60 |
2900 | 1.1 | 2.3 |
| 50-100A | 50 |
8 11 14.5 |
2.22 3.05 4.03 |
11 10 9 |
60 | 2900 | 0.75 | 2.3 |
| 50-125 | 50 |
8.8 12.5 16.3 |
2.44 3.47 4.53 |
21.5 20 17.8 |
49 58 57 |
2900 | 1.5 | 2.3 |
| 50-125A | 50 |
8 11 14.5 |
2.22 3.05 4.03 |
17 16 14 |
57 | 2900 | 1.1 | 2.3 |
| 50-160 | 50 |
8.8 12.5 16.3 |
2.44 3.47 4.53 |
33 32 30 |
45 52 51 |
2900 | 3 | 2.3 |
| 50-160A | 50 |
8.2 11.7 15.2 |
2.28 3.25 4.22 |
29 28 26 |
44 51 50 |
2900 | 2.2 | 2.3 |
| 50-160B | 50 |
7.3 10.4 13.5 |
2.38 2.89 3.75 |
23 22 20.5 |
50 | 2900 | 1.5 | 2.3 |
| 50-200 | 50 |
8.8 12.5 16.3 |
2.44 3.47 4.53 |
52 50 48 |
38 46 46 |
2900 | 5.5 | 2.3 |
| 50-200A | 50 |
8.3 11.7 15.3 |
2.31 3.25 4.25 |
45.8 44 42 |
37 45 45 |
2900 | 4 | 2.3 |
| 50-200B | 50 |
7.5 10.6 13.8 |
2.08 2.94 3.83 |
37 36 34 |
44 | 2900 | 3 | 2.3 |
| 50-250 | 50 |
8.8 12.5 16.3 |
2.44 3.47 4.53 |
82 80 77.5 |
29 38 40 |
2900 | 11 | 2.3 |
| 50-250A | 50 |
8.2 11.6 15.2 |
2.28 3.22 4.22 |
71.5 70 68 |
38 | 2900 | 7.5 | 2.3 |
| 50-250B | 50 |
7.6 10.8 14 |
2.11 3.0 3.89 |
61.4 60 58 |
37 | 2900 | 7.5 | 2.3 |
| 50-250C | 50 |
7.1 10.0 13.1 |
1.97 2.78 3.64 |
53.2 52 50.4 |
36 | 2900 | 5.5 | 2.3 |
| 型號 | 口徑 | 流量 | 揚程 | 效率 | 轉速 | 電機功率 | 必需汽蝕余量 | |
| mm | m3/h | L/S | m | % | r/min | KW | (NPSH)r | |
| 50-100(I) | 50 |
17.5 25 32.5 |
4.86 6.94 9.03 |
13.7 12.5 10.5 |
67 69 69 |
2900 | 1.5 | 2.5 |
| 50-100(I)A | 50 |
15.6 22.3 29 |
4.3 6.19 8.1 |
11 10 8.4 |
65 67 68 |
2900 | 1.1 | 2.5 |
| 50-125(I) | 50 |
17.5 25 32.5 |
4.86 6.94 9.03 |
21.5 20 18 |
60 68 67 |
2900 | 3 | 2.5 |
| 50-125(I)A | 50 |
15.6 22.3 29 |
4.33 6.19 8.1 |
17 16 13.6 |
58 66 65 |
2900 | 2.2 | 2.5 |
| 50-160(I) | 50 |
17.5 25 32.5 |
4.68 6.94 9.03 |
34.4 32 27.5 |
54 63 60 |
2900 | 4 | 2.5 |
| 50-160(I)A | 50 |
16.4 23.4 30.4 |
4.56 6.5 8.44 |
30 28 24 |
54 62 59 |
2900 | 4 | 2.5 |
| 50-160(I)B | 50 |
15.0 21.6 28 |
4.17 6.0 7.78 |
26 24 20.6 |
58 | 2900 | 3 | 2.5 |
| 50-200(I) | 50 |
17.5 25 32.5 |
4.86 6.94 9.03 |
52.7 50 45.5 |
49 58 59 |
2900 | 7.5 | 2.5 |
| 50-200(I)A | 50 |
16.4 23.5 30.5 |
4.56 6.53 8.47 |
46.4 44 40 |
48 57 58 |
2900 | 7.5 | 2.5 |
| 50-200(I)B | 50 |
15.2 21.8 28.3 |
4.22 6.06 7.86 |
40 38 34.5 |
55 | 2900 | 5.5 | 2.5 |
| 50-250(I) | 50 |
17.5 25 32.5 |
4.86 6.94 9.03 |
82 80 76.5 |
39 50 52 |
2900 | 15 | 2.5 |
| 50-250(I)A | 50 |
16.4 23.4 30.5 |
4.56 6.5 8.47 |
71.5 70 67 |
39 50 52 |
2900 | 11 | 2.5 |
| 50-250(I)B | 50 |
15 21.6 28 |
4.17 6.0 7.78 |
61 60 57.4 |
38 49 54 |
2900 | 11 | 2.5 |
| 50-315(I) | 50 |
17.5 25 32.5 |
4.86 6.94 9.03 |
128 125 122 |
30 40 44 |
2900 | 30 | 2.5 |
| 50-315(I)A | 50 |
16.6 23.7 31 |
4.61 6.58 8.6 |
115 113 110 |
30 40 44 |
2900 | 22 | 2.5 |
| 50-315(I)B | 50 |
15.7 22.5 29.2 |
4.36 6.25 8.0 |
103 101 98 |
39 | 2900 | 18.5 | 2.5 |
| 50-315(I)C | 50 |
14.4 20.6 26.8 |
4.0 5.72 7.44 |
86 85 83 |
38 | 2900 | 15 | 2.5 |
| 型號 | 口徑 | 流量 | 揚程 | 效率 | 轉速 | 電機功率 | 必需汽蝕余量 | |
| m3/h | L/S | m | % | r/min | KW | (NPSH)r | ||
| 65-100 | 65 |
17.5 25 32.5 |
4.86 6.94 9.03 |
13.7 12.5 10.5 |
67 69 69 |
2900 | 1.5 | 2.5 |
| 65-100A | 65 |
15.6 22.3 29 |
4.3 6.19 8.1 |
11 10 8.4 |
65 67 68 |
2900 | 1.1 | 2.5 |
| 65-125 | 65 |
17.5 25 32.5 |
4.86 6.94 9.03 |
21.5 20 18 |
60 68 67 |
2900 | 3 | 2.5 |
| 65-125A | 65 |
15.6 22.3 29 |
4.33 6.19 8.1 |
17 16 14.4 |
58 66 65 |
2900 | 2.2 | 2.5 |
| 65-160 | 65 |
17.5 25 32.5 |
4.86 6.94 9.03 |
34.4 32 27.5 |
54 63 60 |
2900 | 4 | 2.5 |
| 65-160A | 65 |
16.4 23.4 30.4 |
4.56 6.5 8.44 |
30 28 24 |
54 62 59 |
2900 | 4 | 2.5 |
| 65-160B | 65 |
15.0 21.6 28 |
4.17 6.0 7.78 |
26 24 20.6 |
58 | 2900 | 3 | 2.5 |
| 65-200 | 65 |
17.5 25 32.5 |
4.86 6.94 9.03 |
52.7 50 45.5 |
49 58 59 |
2900 | 7.5 | 2.5 |
| 65-200A | 65 |
16.4 23.5 30.5 |
4.56 6.53 8.47 |
46.4 44 40 |
48 57 58 |
2900 | 7.5 | 2.5 |
| 65-200B | 65 |
15.2 21.8 28.3 |
4.22 6.06 7.86 |
40 38 34.5 |
55 | 2900 | 5.5 | 2.5 |
| 65-250 | 65 |
17.5 25 32.5 |
4.86 6.94 9.03 |
82 80 76.5 |
39 50 52 |
2900 | 15 | 2.5 |
| 65-250A | 65 |
16.4 23.4 30.5 |
4.56 6.5 8.47 |
71.5 70 67 |
39 50 52 |
2900 | 11 | 2.5 |
| 65-250B | 65 |
15 21.6 28 |
4.17 6.0 7.78 |
61 60 57.4 |
38 49 54 |
2900 | 11 | 2.5 |
| 65-315 | 65 |
17.5 25 32.5 |
4.86 6.94 9.03 |
127 125 122 |
32 40 44 |
2900 | 30 | 2.5 |
| 65-315A | 65 |
16.6 23.7 31 |
4.61 6.58 8.6 |
115 113 110 |
32 40 44 |
2900 | 22 | 2.5 |
| 65-315B | 65 |
15.7 22.5 29.2 |
4.36 6.25 8.0 |
103 101 98 |
39 | 2900 | 18.5 | 2.5 |
| 65-315C | 65 |
14.4 20.6 26.8 |
4.0 5.72 7.44 |
86 85 83 |
38 | 2900 | 15 | 2.5 |
| 型號 | 口徑 | 流量 | 揚程 | 效率 | 轉速 | 電機功率 | 必需汽蝕余量 | |
| mm | m3/h | L/S | m | % | r/min | KW | (NPSH)r | |
| 65-100(I) | 65 |
35 50 65 |
9.72 13.9 18.1 |
13.8 12.5 10 |
67 73 70 |
2900 | 3 | 3.0 |
| 65-100(I)A | 65 |
31.3 44.7 58 |
8.7 12.4 16.1 |
11 10 8 |
66 72 69 |
2900 | 2.2 | 3.0 |
| 65-125(I) | 65 |
35 50 65 |
9.72 13.9 18.1 |
22 20 17 |
67 72.5 70 |
2900 | 5.5 | 3.0 |
| 65-125(I)A | 65 |
31.3 44.7 58 |
8.7 12.5 16.1 |
17.5 16 13.6 |
66 71 69 |
2900 | 4 | 3.0 |
| 65-160(I) | 65 |
35 50 65 |
9.72 13.9 18.1 |
35 32 28 |
63 71 70 |
2900 | 7.5 | 3.0 |
| 65-160(I)A | 65 |
32.7 46.7 61 |
9.1 13.0 16.9 |
30.6 28 24 |
62 70 69 |
2900 | 7.5 | 3.0 |
| 65-160(I)B | 65 |
30.3 43.3 56.3 |
8.4 12.0 15.6 |
26 24 21 |
69 | 2900 | 5.5 | 3.0 |
| 65-200(I) | 65 |
35 50 65 |
9.72 13.9 18.1 |
53.5 50 46 |
55 67 68 |
2900 | 15 | 3.0 |
| 65-200(I)A | 65 |
32.8 47 61 |
9.1 13.1 16.9 |
47 44 40 |
54 66 67 |
2900 | 11 | 3.0 |
| 65-200(I)B | 65 |
30.5 43.5 56.6 |
8.5 12.1 15.7 |
40.6 38 33.4 |
65 | 2900 | 7.5 | 3.0 |
| 65-250(I) | 65 |
35 50 65 |
9.72 13.9 18.1 |
83 80 72 |
52 59 60 |
2900 | 22 | 3.0 |
| 65-250(I)A | 65 |
32.5 46.7 61 |
9.0 13.0 16.9 |
73 70 63 |
52 59 60 |
2900 | 18.5 | 3.0 |
| 65-250(I)B | 65 |
30 43.3 56 |
8.3 12.0 15.6 |
62 60 54 |
58 | 2900 | 15 | 3.0 |
| 65-315(I) | 65 |
35 50 65 |
9.72 13.9 18.1 |
128 125 121 |
44 54 57 |
2900 | 37 | 3.0 |
| 65-315(I)A | 65 |
32.5 46.5 60.5 |
9.0 12.9 16.8 |
112.6 110 106.4 |
43 54 57 |
2900 | 30 | 3.0 |
| 65-315(I)B | 65 |
31 44.5 58 |
8.6 12.4 16.1 |
102.5 100 98 |
53 | 2900 | 30 | 3.0 |
| 65-315(I)C | 65 |
29 41 53.6 |
8.1 11.4 14.9 |
87 85 83 |
51 | 2900 | 22 | 3.0 |
| 型號 | 口徑 | 流量 | 揚程 | 效率 | 轉速 | 電機功率 | 必需汽蝕余量 | |
| mm | m3/h | L/S | m | % | r/min | KW | (NPSH)r | |
| 80-100 | 80 |
35 50 65 |
9.72 13.9 18.1 |
13.8 12.5 10 |
67 73 70 |
2900 | 3 | 3.0 |
| 80-100A | 80 |
31.3 44.7 58 |
8.7 12.5 16.1 |
11 10 8 |
66 72 69 |
2900 | 2.2 | 3.0 |
| 80-125 | 80 |
35 50 65 |
9.72 13.9 18.1 |
22 20 17 |
67 72.5 70 |
2900 | 5.5 | 3.0 |
| 80-125A | 80 |
31.3 45 58 |
8.7 12.5 16.1 |
17.5 16 13.6 |
66 71 69 |
2900 | 4 | 3.0 |
| 80-160 | 80 |
35 50 65 |
9.72 13.9 18.1 |
35 32 28 |
63 71 70 |
2900 | 7.5 | 3.0 |
| 80-160A | 80 |
32.7 46.7 61 |
9.1 13.0 16.9 |
30.6 28 24 |
62 70 69 |
2900 | 7.5 | 3.0 |
| 80-160B | 80 |
30.3 43.3 56.3 |
8.4 12.0 15.6 |
26 24 21 |
69 | 2900 | 5.5 | 3.0 |
| 80-200 | 80 |
35 50 65 |
9.72 13.9 18.1 |
53.5 50 46 |
55 67 68 |
2900 | 15 | 3.0 |
| 80-200A | 80 |
32.8 47 61 |
9.1 13.1 16.9 |
47 44 40 |
54 66 67 |
2900 | 11 | 3.0 |
| 80-200B | 80 |
30.5 43.5 56.6 |
8.5 12.1 15.7 |
40.6 38 33.4 |
65 | 2900 | 7.5 | 3.0 |
| 80-250 | 80 |
35 50 65 |
9.72 13.9 18.1 |
83 80 72 |
52 59 60 |
2900 | 22 | 3.0 |
| 80-250A | 80 |
32.5 46.7 61 |
9.0 13.0 16.9 |
73 70 63 |
52 59 60 |
2900 | 18.5 | 3.0 |
| 80-250B | 80 |
30 43.3 56 |
8.3 12.0 15.6 |
62 60 54 |
58 | 2900 | 15 | 3.0 |
| 80-315 | 80 |
35 50 65 |
9.72 13.9 18.1 |
128 125 122 |
43 54 57 |
2900 | 37 | 3.0 |
| 80-315A | 80 |
32.5 46.5 60.5 |
9.0 12.9 16.8 |
112.6 110 107.4 |
43 54 57 |
2900 | 30 | 3.0 |
| 80-315B | 80 |
31 44.5 58 |
8.6 12.4 16.1 |
102.5 100 98 |
53 | 2900 | 30 | 3.0 |
| 80-315C | 80 |
29 41 53.6 |
8.1 11.4 14.9 |
98 85 83 |
51 | 2900 | 22 | 3.0 |
| 80-350 | 80 |
35 50 65 |
9.72 13.9 18.1 |
146 150 142 |
55 66 67 |
2900 | 55 | 3.0 |
| 80-350A | 80 |
31 44.5 58 |
8.6 12.4 16.1 |
138.4 142 134.8 |
65 | 2900 | 45 | 3.0 |
| 80-350B | 80 |
29 41 53.6 |
8.1 11.4 14.9 |
131.4 135 127.8 |
63 | 2900 | 37 | 3.0 |
| 型號 | 口徑 | 流量 | 揚程 | 效率 | 轉速 | 電機功率 | 必需汽蝕余量 | |
| mm | m3/h | L/S | m | % | r/min | KW | (NPSH)r | |
| 80-100(I) | 80 |
70 100 130 |
19.4 27.8 36.1 |
13.6 12.5 11 |
66 76 75 |
2900 | 5.5 | 4.5 |
| 80-100(I)A | 80 |
62.6 89 116 |
17.4 24.7 32.2 |
11 10 8.8 |
64 74 74 |
2900 | 4 | 4.5 |
| 80-125(I) | 80 |
70 100 130 |
19.4 27.8 36.1 |
23.5 20 14 |
70 76 65 |
2900 | 11 | 4.5 |
| 80-125(I)A | 80 |
62.6 89 116 |
17.4 24.7 32.2 |
19 16 11 |
68 74 65 |
2900 | 7.5 | 4.5 |
| 80-160(I) | 80 |
70 100 130 |
19.4 27.8 36.1 |
36.5 32 24 |
70 76 65 |
2900 | 15 | 4.5 |
| 80-160(I)A | 80 |
65.4 93.5 121.6 |
18.2 26.0 33.8 |
32 28 21 |
68 74 67 |
2900 | 11 | 4.5 |
| 80-160(I)B | 80 |
60.6 86.6 112.5 |
16.8 24.1 31.3 |
72 24 18 |
72 | 2900 | 11 | 4.5 |
| 80-200(I) | 80 |
70 100 130 |
19.4 27.8 36.1 |
54 50 42 |
65 74 73 |
2900 | 22 | 4.0 |
| 80-200(I)A | 80 |
65.4 93.5 121.6 |
18.2 26.0 33.8 |
47.5 44 37 |
64 73 72 |
2900 | 18.5 | 4.0 |
| 80-200(I)B | 80 |
61 87 113 |
16.9 24.2 31.4 |
41 38 32 |
71 | 2900 | 15 | 4.0 |
| 80-250(I) | 80 |
70 100 130 |
19.4 27.8 36.1 |
87 80 68 |
62 69 68 |
2900 | 37 | 4.0 |
| 80-250(I)A | 80 |
65.4 93.5 121.6 |
18.2 26.0 33.8 |
76 70 59.5 |
61 68 67 |
2900 | 30 | 4.0 |
| 80-250(I)B | 80 |
61 87 113 |
16.9 24.2 31.4 |
65 60 51 |
66 | 2900 | 30 | 4.0 |
| 80-315(I) | 80 |
70 100 130 |
19.4 27.8 36.1 |
132 125 114 |
55 66 67 |
2900 | 75 | 4.0 |
| 80-315(I)A | 80 |
66.5 95 123.6 |
18.5 26.4 34.3 |
119 113 103 |
55 66 67 |
2900 | 55 | 4.0 |
| 80-315(I)B | 80 |
63 90 117 |
17.5 25 32.5 |
106.6 101 92 |
65 | 2900 | 45 | 4.0 |
| 80-315(I)C | 80 |
58 82 107 |
16.1 22.8 29.7 |
90 85 76 |
63 | 2900 | 37 | 4.0 |
| 型號 | 口徑 | 流量 | 揚程 | 效率 | 轉速 | 電機功率 | 必需汽蝕余量 | |
| mm | m3/h | L/S | m | % | r/min | KW | (NPSH)r | |
| 100-100 | 100 |
70 100 130 |
19.4 27.8 36.1 |
13.6 12.5 11 |
66 76 75 |
2900 | 5.5 | 4.5 |
| 100-100A | 100 |
62.6 89 116 |
17.4 47 32.2 |
11 10 8.8 |
64 74 74 |
2900 | 4 | 4.5 |
| 100-125 | 100 |
70 100 130 |
19.4 27.8 36.1 |
23.5 20 14 |
70 76 65 |
2900 | 11 | 4.5 |
| 100-125A | 100 |
62.6 89 116 |
17.4 24.7 32.2 |
19 16 11 |
68 74 63 |
2900 | 7.5 | 4.5 |
| 100-160 | 100 |
70 100 130 |
19.4 27.8 36.1 |
36.5 32 24 |
70 76 65 |
2900 | 15 | 4.5 |
| 100-160A | 100 |
65.4 93.5 121.6 |
18.2 26.0 33.8 |
32 28 21 |
68 74 67 |
2900 | 11 | 4.5 |
| 100-160B | 100 |
60.6 86.6 112.5 |
16.8 24.1 31.3 |
27 24 18 |
72 | 2900 | 11 | 4.5 |
| 100-200 | 100 |
70 100 130 |
19.4 27.8 36.1 |
54 50 42 |
65 74 73 |
2900 | 22 | 4.0 |
| 100-200A | 100 |
65.4 93.5 121.6 |
18.2 26.0 33.8 |
47.5 44 37 |
64 73 72 |
2900 | 18.5 | 4.0 |
| 100-200B | 100 |
61 87 113 |
16.9 24.2 31.4 |
41 38 32 |
71 | 2900 | 15 | 4.0 |
| 100-250 | 100 |
70 100 130 |
19.4 27.8 36.1 |
37 80 68 |
62 69 68 |
2900 | 37 | 4.0 |
| 100-250A | 100 |
65.4 93.5 121.6 |
18.2 26.0 33.8 |
76 70 59.5 |
61 68 67 |
2900 | 30 | 4.0 |
| 100-250B | 100 |
61 87 113 |
16.9 24.2 31.4 |
65 60 51 |
66 | 2900 | 30 | 4.0 |
| 100-315 | 100 |
70 100 130 |
19.4 27.8 36.1 |
132 125 114 |
55 66 67 |
2900 | 75 | 4.0 |
| 100-315A | 100 |
66.5 95 123.6 |
18.5 26.4 34.3 |
119 113 103 |
65 66 67 |
2900 | 55 | 4.0 |
| 100-315B | 100 |
63 90 117 |
17.5 25 32.5 |
106.6 101 92 |
65 | 2900 | 45 | 4.0 |
| 100-315C | 100 |
58 82 107 |
16.1 22.8 29.7 |
90 85 76 |
63 | 2900 | 37 | 4.0 |
| 型號 | 口徑 | 流量 | 揚程 | 效率 | 轉速 | 電機功率 | 必需汽蝕余量 | |
| mm | m3/h | L/S | m | % | r/min | KW | (NPSH)r | |
| 100-100(I) | 100 |
96 160 192 |
26.7 44.4 53.3 |
14 12.5 10 |
64 73 70 |
2900 | 11 | 4.5 |
| 100-125(I) | 100 |
96 160 192 |
26.7 44.4 53.3 |
24 20 14 |
62 74 69 |
2900 | 15 | 4.5 |
| 100-125(I)A | 100 |
84 140 168 |
23.3 39 46.7 |
20 17 12 |
64 72 68 |
2900 | 11 | 4.5 |
| 100-160(I) | 100 |
96 160 192 |
26.7 44.4 53.3 |
36 32 27 |
69 79 75 |
2900 | 22 | 5.6 |
| 100-160(I)A | 100 |
84 140 168 |
23.3 39 46.7 |
32 28 23.5 |
66 76 72 |
2900 | 18.5 | 5.0 |
| 100-200(I) | 100 |
96 160 192 |
26.7 44.4 53.3 |
53 50 45 |
69 79 78 |
2900 | 37 | 5.2 |
| 100-200(I)A | 100 |
84 140 168 |
23.3 39 46.7 |
48 45 40 |
64 74 73 |
2900 | 30 | 4.5 |
| 100-200(I)B | 100 |
60 100 120 |
16.7 27.8 33.3 |
43 40 36 |
72 | 2900 | 22 | 4.5 |
| 100-250(I) | 100 |
96 160 192 |
26.7 44.4 53.3 |
83 80 72 |
65 77 74 |
2900 | 55 | 4.8 |
| 100-250(I)A | 100 |
84 140 168 |
23.3 39 46.7 |
75 72 65 |
60 72 69 |
2900 | 45 | 4.5 |
| 100-250(I)B | 100 |
60 100 120 |
16.7 27.8 33.3 |
68 65 58 |
70 | 2900 | 37 | 4.5 |
| 100-350 | 100 |
60 100 120 |
16.7 27.8 33.3 |
153.6 150 142 |
72 57 74 |
2900 | 90 | 4.0 |
| 100-350A | 100 |
61 87 113 |
16.9 24.2 31.4 |
145.6 142 134 |
75 | 2900 | 75 | 4.0 |
| 100-350B | 100 |
58 82 107 |
16.1 22.8 29.7 |
138.6 135 127 |
75 | 2900 | 55 | 4.0 |
| 型號 | 口徑 | 流量 | 揚程 | 效率 | 轉速 | 電機功率 | 必需汽蝕余量 | |
| mm | m3/h | L/S | m | % | r/min | KW | (NPSH)r | |
| 125-100 | 125 |
96 160 192 |
26.7 44.4 53.3 |
13 12.5 12 |
82 | 2900 | 11 | 4.0 |
| 125-100A | 125 |
86 143 172 |
23.9 39.7 47.8 |
10.4 10 9.6 |
77 | 2900 | 7.5 | 4.0 |
| 125-125 | 125 |
96 160 192 |
26.7 44.4 53.3 |
22.6 20 17 |
80 | 2900 | 15 | 4.0 |
| 125-125A | 125 |
86 143 172 |
23.9 39.7 47.8 |
18 16 13.6 |
77 | 2900 | 11 | 4.0 |
| 125-160 | 125 |
96 160 192 |
26.7 44.4 53.3 |
36 32 28 |
78 | 2900 | 22 | 4.0 |
| 125-160A | 125 |
90 150 180 |
25 41.7 50 |
31.5 28 24.5 |
76 | 2900 | 18.5 | 4.0 |
| 125-160B | 125 |
83 138 166 |
21.7 38.3 46.1 |
27 24 21 |
73 | 2900 | 15 | 4.0 |
| 125-200 | 125 |
96 160 192 |
26.7 44.4 53.3 |
55 50 46 |
77 | 2900 | 37 | 5.5 |
| 125-200A | 125 |
90 150 180 |
25 41.7 50 |
48.4 44 40.5 |
76 | 2900 | 30 | 5.5 |
| 125-200B | 125 |
83 138 166 |
21.7 38.3 46.1 |
41.3 37.5 34.5 |
75 | 2900 | 22 | 5.5 |
| 125-250 | 125 |
96 160 192 |
26.7 44.4 53.3 |
87 80 73 |
75 | 2900 | 55 | 5.0 |
| 125-250A | 125 |
90 150 180 |
25 41.7 50 |
76 70 84 |
74 | 2900 | 45 | 5.5 |
| 125-250B | 125 |
83 138 166 |
21.7 38.3 46.1 |
65 60 55 |
73 | 2900 | 37 | 5.5 |
| 125-315 | 125 |
96 160 192 |
26.7 44.7 53.3 |
133 125 119 |
70 | 2900 | 90 | 5.0 |
| 125-315A | 125 |
90 150 180 |
25 41.7 50 |
117 110 104.6 |
70 | 2900 | 75 | 5.0 |
| 125-315B | 125 |
86 143 172 |
23.9 39.7 47.8 |
106.4 100 95.2 |
69 | 2900 | 75 | 5.0 |
| 125-315C | 125 |
80.5 134 161 |
22.4 37.2 44.7 |
96 88 86 |
67 | 2900 | 55 | 5.0 |
| 型號 | 口徑 | 流量 | 揚程 | 效率 | 轉速 | 電機功率 | 必需汽蝕余量 | |
| mm | m3/h | L/S | m | % | r/min | KW | (NPSH)r | |
| 150-125 | 150 |
96 160 192 |
26.7 44.4 53.3 |
22.6 24 17 |
66 76 76 |
2900 | 11 | 4.0 |
| 150-125A | 150 |
90 150 180 |
25 41.7 50 |
18 16 13.6 |
77 | 2900 | 7.5 | 4.0 |
| 150-160 | 150 |
96 160 192 |
26.7 44.4 53.3 |
36 32 27 |
75 | 2900 | 22 | 4.0 |
| 150-160A | 150 |
90 150 180 |
25 41.7 50 |
32 28 23.5 |
76 | 2900 | 18.5 | 4.0 |
| 150-160B | 150 |
84 140 168 |
23.3 39 46.7 |
27 24 21 |
73 | 2900 | 15 | 4.0 |
| 150-200 | 150 |
140 200 260 |
38.9 55.6 72.2 |
13.8 12.5 10.6 |
68 78 78 |
1450 | 15 | 3.0 |
| 150-200A | 150 |
125 176 232.5 |
34.7 49.7 64.6 |
11 10 8.5 |
66 76 76 |
1450 | 11 | 3.0 |
| 150-200B | 150 |
84 140 168 |
23.3 39 46.7 |
41 38 34 |
75 | 2900 | 22 | 4.0 |
| 150-250 | 150 |
140 200 260 |
38.9 55.6 72.2 |
21.8 20 17 |
73 79 77 |
1450 | 18.5 | 3.0 |
| 150-250A | 150 |
129 184.4 240 |
35.8 51.2 66.7 |
18.5 17 14.4 |
72 78 76 |
1450 | 15 | 3.0 |
| 150-250B | 150 |
117 167 217.5 |
32.5 46.4 60.4 |
15.2 14 12 |
76 | 1450 | 11 | 3.0 |
| 150-315 | 150 |
140 200 260 |
38.9 55.6 72.2 |
33.8 32 28 |
70 78 73 |
1450 | 30 | 2.5 |
| 150-315A | 150 |
131 187 243 |
36.4 51.9 67.5 |
29.5 28 24.5 |
69 77 77 |
1450 | 22 | 3.5 |
| 150-315B | 150 |
121 173 225 |
33.5 48.1 62.5 |
25 24 21 |
76 | 1450 | 18.5 | 3.5 |
| 150-350 | 150 |
96 160 192 |
26.7 44.4 53.3 |
153.6 150 142.8 |
80 | 2900 | 110 | 5.5 |
| 150-350A | 150 |
90 150 180 |
25 41.7 50 |
145.6 142 134.8 |
70 | 2900 | 90 | 5.2 |
| 150-350B | 150 |
84 140 168 |
23.3 39 46.7 |
138.6 135 127.8 |
65 76 74 |
2900 | 75 | 5.5 |
| 150-400 | 150 |
140 200 260 |
38.9 55.6 72.2 |
53 50 44 |
68 75 71 |
1450 | 45 | 3.5 |
| 150-400A | 150 |
131 187 243 |
36.4 51.9 67.5 |
46.6 44 38.3 |
67 74 70 |
1450 | 37 | 3.5 |
| 150-400B | 150 |
122 174 226.5 |
33.9 48.3 62.9 |
40 38 33 |
73 | 1450 | 30 | 3.5 |
| 150-400C | 150 |
112 160 208 |
31.1 44.4 57.8 |
34 32 28 |
71 | 1450 | 22 | 3.5 |
| 型號 | 口徑 | 流量 | 揚程 | 效率 | 轉速 | 電機功率 | 必需汽蝕余量 | |
| mm | m3/h | L/S | m | % | r/min | KW | (NPSH)r | |
| 150-250(I) | 150 |
120 200 240 |
33.3 55.6 66.7 |
87 80 72 |
65 76 74 |
2900 | 75 | 4.5 |
| 150-250(I)A | 150 |
112 187 224 |
31.1 51.9 62.2 |
76 70 63 |
64 75 73 |
2900 | 55 | 4.5 |
| 150-250(I)B | 150 |
104 173 208 |
28.9 48.1 57.8 |
65 60 54 |
63 74 72 |
2900 | 45 | 4.5 |
| 150-315(I) | 150 |
120 200 240 |
33.3 55.6 66.7 |
133 125 120 |
58 73 75 |
2900 | 110 | 4.5 |
| 150-315(I)A | 150 |
112 187 224 |
31.1 51.9 62.2 |
116 110 105 |
57 72 74 |
2900 | 90 | 4.5 |
| 150-315(I)B | 150 |
104 173 208 |
28.9 48.1 57.8 |
100 95 91 |
55 70 72 |
2900 | 75 | 4.5 |
| 型號 | 口徑 | 流量 | 揚程 | 效率 | 轉速 | 電機功率 | 必需汽蝕余量 | |
| mm | m3/h | L/S | m | % | r/min | KW | (NPSH)r | |
| 200-200 | 200 |
140 200 260 |
38.9 55.6 72.2 |
13.8 12.5 10.6 |
68 78 78 |
1450 | 15 | 3.0 |
| 200-200A | 200 |
125 179 232.5 |
34.7 49.7 64.6 |
11 10 8.5 |
66 76 76 |
1450 | 11 | 3.0 |
| 200-250 | 200 |
140 200 260 |
21.8 20 17 |
21.8 20 17 |
73 79 77 |
1450 | 18.5 | 3.0 |
| 200-250A | 200 |
129 184.4 240 |
18.5 17 14.4 |
18.5 17 14.4 |
72 78 76 |
1450 | 15 | 3.0 |
| 200-250B | 200 |
117 167 217.5 |
15.2 14 12 |
15.2 14 12 |
76 | 1450 | 11 | 3.0 |
| 200-315 | 200 |
140 200 260 |
33.8 32 28 |
33.8 32 28 |
70 78 78 |
1450 | 30 | 3.5 |
| 200-315A | 200 |
131 189 243 |
29.5 28 24.5 |
29.5 28 24.5 |
69 77 77 |
1450 | 22 | 3.5 |
| 200-315B | 200 |
121 173 225 |
25 24 21 |
25 24 21 |
76 | 1450 | 18.5 | 3.5 |
| 200-400 | 200 |
140 200 260 |
53 50 44 |
53 50 44 |
68 75 71 |
1450 | 45 | 3.5 |
| 200-400A | 200 |
131 187 243 |
46.6 44 38.3 |
46.6 44 38.3 |
67 74 70 |
1450 | 37 | 3.5 |
| 200-400B | 200 |
122 174 226.5 |
40 38 33 |
40 38 33 |
73 | 1450 | 30 | 3.5 |
| 200-400C | 200 |
112 160 208 |
34 32 28 |
34 32 28 |
71 | 1450 | 22 | 3.5 |
| 型號 | 口徑 | 流量 | 揚程 | 效率 | 轉速 | 電機功率 | 必需汽蝕余量 | |
| mm | m3/h | L/S | m | % | r/min | KW | (NPSH)r | |
| 200-200(I) | 200 |
280 400 520 |
77.8 111.1 144 |
13.4 12.5 10.5 |
70 80 79 |
1450 | 22 | 4.0 |
| 200-200(I)A | 200 |
250 358 465 |
69.4 90.4 129.2 |
10.7 10 8.5 |
68 73 77 |
1450 | 18.5 | 4.0 |
| 200-250(I) | 200 |
280 400 520 |
77.8 111.1 144 |
22.2 20 14 |
75 80 72 |
1450 | 30 | 4.0 |
| 200-250(I)A | 200 |
250 358 465 |
69.4 99.4 129.2 |
18 16 11.2 |
73 78 70 |
1450 | 22 | 4.0 |
| 200-250(I)B | 200 |
226 322 419 |
62.8 89.4 116.4 |
14.4 13 7.3 |
70 75 67 |
1450 | 18.5 | 4.0 |
| 200-315(I) | 200 |
280 400 520 |
77.8 111.4 144 |
36 32 26 |
73 80 75 |
1450 | 55 | 4.0 |
| 200-315(I)A | 200 |
262 374 486 |
72.8 103.9 135 |
31.5 28 23 |
72 79 74 |
1450 | 45 | 4.0 |
| 200-315(I)B | 200 |
242 346 450 |
67.3 96.1 125 |
27 24 19.5 |
78 | 1450 | 37 | 4.0 |
| 200-400(I) | 200 |
280 400 520 |
77.8 111.4 144 |
54.5 50 39 |
75 81 77 |
1450 | 75 | 4.0 |
| 200-400(I)A | 200 |
262 374 486 |
72.8 103.9 135 |
48 44 34 |
80 | 1450 | 75 | 4.0 |
| 200-400(I)B | 200 |
242 346 450 |
67.2 96.1 125 |
41.4 38 29.6 |
78 | 1450 | 55 | 5.0 |
| 200-400(I)C | 200 |
224 320 416 |
62.2 88.9 115.6 |
34.9 32 25 |
76 | 1450 | 45 | 5.0 |
| 型號 | 口徑 | 流量 | 揚程 | 效率 | 轉速 | 電機功率 | 必需汽蝕余量 | |
| mm | m3/h | L/S | m | % | r/min | KW | (NPSH)r | |
| 250-250 | 250 |
350 550 650 |
97.2 152.8 180.5 |
22 20 16 |
78 82 81 |
1450 | 45 | 5.0 |
| 250-250A | 250 |
300 500 600 |
83.3 139 166.7 |
18.3 17 14 |
76 80 80 |
1450 | 37 | 5.0 |
| 250-235 | 250 |
300 500 600 |
83.3 139 166.7 |
14 12.5 11 |
73 78 70 |
1480 | 22 | 4.5 |
| 250-300 | 250 |
300 500 600 |
83.3 139 166.7 |
22 20 16 |
78 | 1480 | 37 | 4.5 |
| 250-315 | 250 |
350 550 650 |
97.2 152.8 180.5 |
34 32 28 |
76 80 79 |
1450 | 75 | 5.5 |
| 250-315A | 250 |
300 500 600 |
83.3 139 166.7 |
29.5 28 24 |
74 78 77 |
1450 | 55 | 5.5 |
| 250-315B | 250 |
260 450 520 |
72.2 125 144.4 |
25 24 20 |
70 74 72 |
1450 | 45 | 5.5 |
| 250-400 | 250 |
300 500 600 |
83.3 139 166.7 |
54.5 50 39 |
72 | 1480 | 90 | 4.5 |
| 型號 | 口徑 | 流量 | 揚程 | 效率 | 轉速 | 電機功率 | 必需汽蝕余量 | |
| mm | m3/h | L/S | m | % | r/min | KW | (NPSH)r | |
| 300-235 | 300 |
480 720 900 |
133.3 200 250 |
20 18 15.5 |
77 81 74 |
970 | 55 | 5.0 |
| 300-235A | 300 |
438 607 821 |
121.7 182.5 228.1 |
16.5 15 13 |
75 79 72 |
970 | 45 | 5.0 |
| 300-235B | 300 |
400 600 750 |
111.1 167.0 208.3 |
14 12.5 11 |
73 77 70 |
970 | 37 | 5.0 |
| 300-300 | 300 |
480 720 900 |
133.3 200 250 |
31 28 25 |
77 81 77 |
970 | 75 | 5.0 |
| 300-300A | 300 |
444 666 833 |
123.3 185 231.4 |
26.5 24 21.5 |
76 80 76 |
970 | 75 | 5.0 |
| 300-300B | 300 |
415 623 779 |
115.3 173.1 261.4 |
23 21 18.5 |
79 | 970 | 55 | 5.0 |
| 300-380 | 300 |
480 720 900 |
133.3 200 250 |
48 44 34 |
84 | 970 | 132 | 5.0 |
| 300-380A | 300 |
444 666 833 |
123.3 185 231.4 |
41.4 38 30 |
80 | 970 | 110 | 5.0 |
| 300-380B | 300 |
409 614 767 |
113.6 170.6 213.1 |
35 32 25 |
78 | 970 | 90 | 5.0 |
| 300-235(I) | 300 |
718 1080 1345 |
199.4 300 373.6 |
44.6 40 34.6 |
82 | 1450 | 160 | 5.5 |
| 300-235(I)A | 300 |
642 965 1203 |
178.3 268.1 334.2 |
35.7 32 27.7 |
80 | 1450 | 132 | 5.5 |
臥式管道泵訂貨須知
一、①臥式管道泵產品名稱與型號②不銹鋼單級離心泵口徑③不銹鋼單級離心泵揚程(m)④臥式管道泵流量⑤不銹鋼單級離心泵電機功率(KW)⑥不銹鋼單級離心泵轉速(r/min)⑦臥式管道泵電壓〔V〕⑧臥式管道泵吸程(m)⑨臥式管道泵是否帶附件以便我們的為您正確選型。
二、若已經由設計單位選定我公司的臥式管道泵產品型號,請按臥式管道泵型號直接向揚子江泵業公司銷售部訂購。
三、當使用的場合非常重要或環境比較復雜時,請您盡量提供設計圖紙和詳細參數,由我們揚子江泵業的技術專家為您審核把關。
感謝您訪問我們揚子江泵業的網站【m.110telecom.com】,如有任何疑問.您可以致電給我們,我們一定會盡心盡力為您提供優質的服務。











