產品中心 PRODUCTS LIST
真空泵系列
您當前位置:網站首頁 >> 產品中心 >> 真空泵系列 >> ZKJ真空箱機組
ZKJ真空箱機組
ZKJ真空箱機組是通過2X型真空泵、真空箱、電器箱、真空表、電磁放氣閥五大類組成真空箱機組。真空泵在形成一定要求的真空或壓力時,從而滿足工藝過程要在真空狀態下進行的要求,ZKJ真空箱機組可廣泛適用于工藝品、化工、制藥、冶金、電子、科研等行業使用。
目錄
ZKJ真空箱機組概述
ZKJ真空箱機組是通過2X型真空泵、真空箱、電器箱、真空表、電磁放氣閥五大類組成真空箱機組。真空泵在形成一定要求的真空或壓力時,從而滿足工藝過程要在真空狀態下進行的要求,ZKJ真空箱機組可廣泛適用于工藝品、化工、制藥、冶金、電子、科研等行業使用。
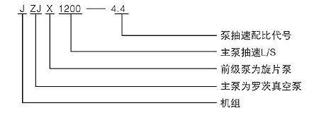
ZKJ真空箱機組概述型號表示方法
真空機電路圖
ZKJ真空箱機組概述技術參數
| 型號 |
內腔容積 (m3) |
真空度 (Pa) |
電壓 (V) |
規格直徑×長度 (mm) |
配用真空泵規格 |
| ZKJ-400 | 0.075 | 400×600 | 2X-4A | ||
| ZKJ-500 | 0.137 | 500×700 | 2X-8A | ||
| ZKJ-600 | 0.226 | 6×10-2 | 380 | 600×800 | 2X-8A |
| ZKJ-700 | 0.308 | 700×800 | 2X-15 | ||
| ZKJ-800 | 0.502 | 800×1000 | 2X-15 | ||
| ZKJ-1000 | 1.02 | 1000×1300 | 2X-30 |
相關文章











