泵的知識 PUMP KNOWLEDGE
行業新聞
您當前位置:網站首頁 >> 泵的知識 >> 詳情內容
智慧型無負壓穩流設備立式罐安裝方法
時間:2013/8/13 來源:浙江揚子江泵業有限公司
ZWL系列立式罐供水設備設計方法可參照下面的方法:
感謝您訪問我們揚子江泵業的網站m.110telecom.com,如有任何水泵疑問我們一定會盡心盡力為您提供優質的服務。


|
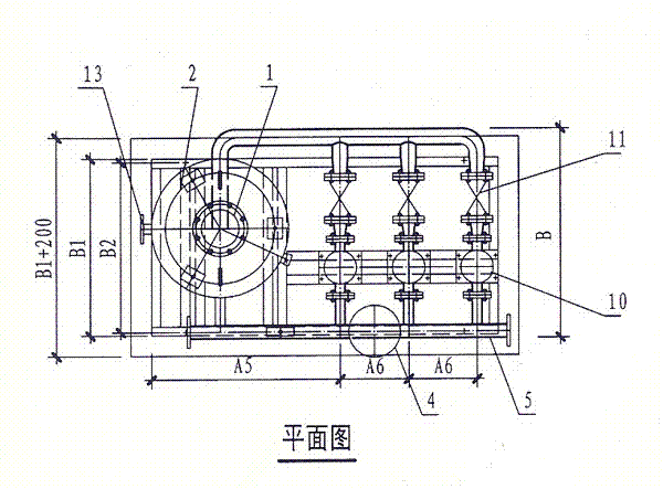
設備組成名稱表 | ||||||||
|
序號 |
1 |
2 |
3 |
4 |
5 | |||
|
名稱 |
防負(降)壓裝置 |
穩流罐 |
壓力傳感裝置 |
氣壓水罐 |
出水管 | |||
|
| ||||||||
|
序號 |
6 |
7 |
8 |
9 |
10 |
11 |
12 |
13 |
|
名稱 |
控制閥 |
止回閥 |
軟接頭 |
底座 |
水泵 |
進水閥 |
旁通閥 |
進水口 |






