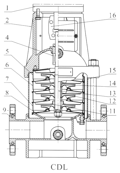
CDLF32,42,65,85立式不銹鋼衛生多級泵產品結構圖
時間:2013/5/22 來源:浙江揚子江泵業有限公司
型號意義

性能范圍

典型應用
1、市政供水及增壓
2、工業循環系統及加工系統
3、鍋爐給水及冷凝液系統
4、環保水處理,滲透分析系統
5、農業灌溉及脫水
6、工業廠房清洗及各種清洗工作
7、(其他)許多專門用途
應用范圍
普通型適用于液體傳輸,冷熱清潔水,軟化水的循環和增壓。
不銹鋼型亦適用于微堿水、脫礦物質水、蒸餾水、游泳池水及其含氯化物液體,但液體允許溫度需要降低。
工作條件
冷熱清潔的,非易燃易爆并不含有固體顆粒或纖維的液體;
液體溫度:常溫型-15℃至+70℃,熱水型+70℃至+120℃;
環境溫度:高+40℃;
小入口壓力:根據NPSH曲線+小安全揚程量0.5米水頭。
產品范圍
|
說明 |
CDL2 |
CDL4 |
CDL8 |
CDL16 |
CDL32 |
|
額定流量[m3/h] |
2 |
4 |
8 |
16 |
32 |
|
額定流量[l/s] |
0.56 |
1.1 |
2.2 |
4.4 |
8.9 |
|
流量范圍[m3/h] |
1-3.5 |
1.5-8 |
5-12 |
8-22 |
16-40 |
|
流量范圍[l/s] |
0.28-0.97 |
0.33-2.2 |
1.4-3.3 |
2.2-6.1 |
4.4-11.1 |
|
大壓力[bar] |
23 |
22 |
21 |
22 |
26 |
|
電機功率[kw] |
0.37-3 |
0.37-4 |
0.75-7.5 |
2.2-15 |
1.5-30 |
|
溫度范圍[℃] |
-15~+120 | ||||
|
高效率[%] |
46 |
59 |
64 |
71 |
76 |
|
類型 | |||||
|
CDL |
|
|
● |
● |
● |
|
CDLF |
● |
● |
● |
● |
● |
|
CDLF管路聯接 | |||||
|
DIN法蘭 |
|
|
DN40 |
DN50 |
DN65 |
|
CDLF管路聯接 | |||||
|
DIN法蘭 |
DN25 |
DN32 |
DN40 |
DN50 |
DN65 |
|
卡套接頭 |
● |
● |
● |
● |
|
|
管螺紋 |
● |
● |
● |
● |
|
性能曲線及性能表說明
1、 所有曲線都基于3*380V,50Hz,電機在恒速2900r/min的測量值。電機為可變電壓電機;
2、測量采用自由空氣下20℃的水,運動粘度r=1mm2/s;
公差參照ISO2584附件B標準
3、泵的使用參照加粗曲線的性能范圍,以防止過熱造成危險。
產品結構圖
截面圖CDL1,2,3,4

材料CDL1,2,3,4
|
序號 |
名稱 |
材料 |
AISI/ASTM |
序號 |
名稱 |
材料 |
AISI/ASTM |
|
1 |
電機 |
|
|
14 |
葉輪隔套 |
不銹鋼 |
AIS1304 |
|
2 |
泵頭 |
鑄鐵 |
ASTM25B |
15 |
耐壓筒 |
不銹鋼 |
AIS1304 |
|
4 |
機械密封 |
|
|
16 |
聯軸器 |
碳鋼 |
|
|
5 |
出水導葉 |
不銹鋼 |
AIS1304 |
| |||
|
6 |
導葉 |
不銹鋼 |
AIS1304 |
CDLF | |||
|
7 |
支撐導葉 |
不銹鋼 |
AIS1304 |
3 |
泵頭襯里 |
不銹鋼 |
AIS1304 |
|
8 |
導流器 |
不銹鋼 |
AIS1304 |
9 |
進出水段 |
不銹鋼 |
AIS1304 |
|
11 |
軸承 |
碳化鎢 |
|
10 |
底座 |
鑄鐵 |
ASTM25B |
|
12 |
葉輪 |
不銹鋼 |
AIS1304 |
CDL | |||
|
13 |
軸 |
不銹鋼 |
AIS1304 AISI316L |
9 |
進出水段 |
鑄鐵 |
ASTM25B |
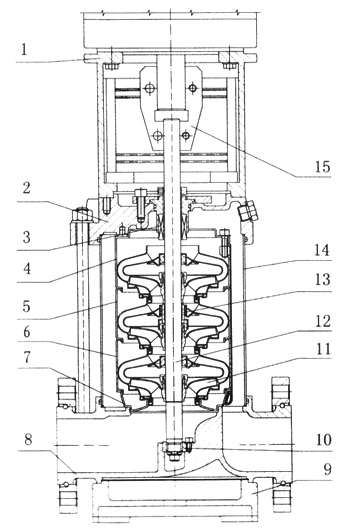
截面圖CDL8,12,16,20

材料CDL8,12,16,20
|
序號 |
名稱 |
材料 |
AISI/ASTM |
序號 |
名稱 |
材料 |
AISI/ASTM |
|
1 |
電機 |
|
|
14 |
葉輪隔套 |
不銹鋼 |
AIS1304 |
|
2 |
泵頭 |
鑄鐵 |
ASTM25B |
15 |
耐壓筒 |
不銹鋼 |
AIS1304 |
|
4 |
機械密封 |
|
|
16 |
聯軸器 |
碳鋼 |
|
|
5 |
出水導葉 |
不銹鋼 |
AIS1304 |
| |||
|
6 |
導葉 |
不銹鋼 |
AIS1304 |
CDLF | |||
|
7 |
支撐導葉 |
不銹鋼 |
AIS1304 |
3 |
泵頭襯里 |
不銹鋼 |
AIS1304 |
|
8 |
導流器 |
不銹鋼 |
AIS1304 |
9 |
進出水段 |
不銹鋼 |
AIS1304 |
|
11 |
軸承 |
碳化鎢 |
|
10 |
底座 |
鑄鐵 |
ASTM25B |
|
12 |
葉輪 |
不銹鋼 |
AIS1304 |
CDL | |||
|
13 |
軸 |
不銹鋼 |
AIS1304 AISI316L |
9 |
進出水段 |
鑄鐵 |
ASTM25B |
截面圖CDL32

材料CDL32
|
序號 |
名稱 |
材料 |
AISI/ASTM |
序號 |
名稱 |
材料 |
AISI/ASTM |
|
1 |
支架 |
鑄鐵 |
ASTM25B |
13 |
中間軸套 |
硬質合金 |
YG8 |
|
3 |
機械密封 |
不銹鋼 |
|
14 |
耐壓筒 |
不銹鋼 |
AIS1304 |
|
4 |
出水導葉 |
不銹鋼 |
AIS1304 |
15 |
聯軸器 |
碳鋼 |
AIS1304 |
|
5 |
支撐導葉 |
不銹鋼 |
AIS1304 |
|
橡膠零件 |
FPM |
|
|
6 |
導葉 |
不銹鋼 |
AIS1304 |
CDL | |||
|
7 |
導流器 |
不銹鋼 |
AIS1304 |
2 |
泵頭 |
鑄鐵 |
ASTM25B |
|
9 |
底座 |
鑄鐵 |
AIS1304 |
8 |
進出水段 |
鑄鐵 |
ASTM25B |
|
10 |
下軸承 |
硬質合金 |
YG8 |
CDLF | |||
|
11 |
葉輪 |
不銹鋼 |
AIS1316 |
2 |
泵頭 |
不銹鋼 |
AIS1304 |
|
12 |
軸 |
不銹鋼 |
|
8 |
進出水段 |
不銹鋼 |
AIS1304 |
截面圖CDL,42,65,85

材料CDL42,65,85
|
序號 |
名稱 |
材料 |
AISI/ASTM |
序號 |
名稱 |
材料 |
AISI/ASTM |
|
1 |
支架 |
鑄鐵 |
ASTM25B |
13 |
中間軸套 |
碳化鎢 |
|
|
3 |
機械密封 |
|
|
14 |
耐壓筒 |
不銹鋼 |
AIS1304 |
|
4 |
出水體 |
不銹鋼 |
AIS1304 |
15 |
聯軸器 |
碳鋼 |
|
|
5 |
支撐導葉 |
不銹鋼 |
AIS1304 |
|
橡膠零件 |
NBR |
|
|
6 |
導葉 |
不銹鋼 |
AIS1304 |
CDL | |||
|
7 |
導流器 |
不銹鋼 |
AIS1304 |
2 |
泵頭 |
鑄鐵 |
ASTM25B |
|
9 |
底座 |
鑄鐵 |
ASTM25B |
8 |
進出水段 |
鑄鐵 |
ASTM25B |
|
10 |
下軸承 |
碳化鎢 |
|
CDLF | |||
|
11 |
葉輪 |
不銹鋼 |
AIS1304 |
2 |
泵頭 |
不銹鋼 |
AIS1304 |
|
12 |
軸 |
不銹鋼 |
AISI316L AIS1304 AISI431 |
9 |
進出水段 |
不銹鋼 |
AIS1304 |
截面圖CDL120,150

材料CDL120,150
|
序號 |
名稱 |
材料 |
AISI/ASTM |
序號 |
名稱 |
材料 |
AISI/ASTM |
|
1 |
支架 |
鑄鐵 |
ASTM25B |
13 |
中間軸套 |
碳化鎢 |
|
|
3 |
機械密封 |
|
|
14 |
耐壓筒 |
不銹鋼 |
AIS1304 |
|
4 |
出水體 |
不銹鋼 |
AIS1304 |
15 |
聯軸器 |
碳鋼 |
|
|
5 |
支撐導葉 |
不銹鋼 |
AIS1304 |
|
橡膠零件 |
NBR |
|
|
6 |
導葉 |
不銹鋼 |
AIS1304 |
CDL | |||
|
7 |
導流器 |
不銹鋼 |
AIS1304 |
2 |
泵頭 |
鑄鐵 |
ASTM25B |
|
9 |
底座 |
鑄鐵 |
ASTM 80-55-06 |
8 |
進出水段 |
鑄鐵 |
ASTM 80-55-06 |
|
10 |
下軸承 |
碳化鎢 |
|
CDLF | |||
|
11 |
葉輪 |
不銹鋼 |
AIS1304 |
2 |
泵頭 |
不銹鋼 |
AIS1304 |
|
12 |
軸 |
不銹鋼 |
AISI316L AIS1304 AISI431 |
8 |
進出水段 |
不銹鋼 |
AIS1304 |
小進口壓力
如果泵中的壓力低于輸送液體的蒸汽壓力、可能發生氣蝕,確保泵進口側有一小壓力,大吸程H[m]可按下式計算:
H=Pb*10.2-NPSH-Hf-Hv-Hs
Pb=大氣壓力[bar](大氣壓力可設定為1bar)
在閉式系統中,Pb為系統壓力[bar]
NPSH=凈正吸頭[m](可從NPSH曲線上泵可能的大流量處讀取)
Hr=入口的管路損失[m]
Hv=蒸汽壓力[m]
Hs=安全余量=小0.5m水頭
如計算所得H為正值,泵可在大吸程H情況下運行。
如計算所得H為負值,必須有一小進口壓力H的水頭。
檢查確保泵換?沒有處于氣蝕狀態

并聯運行
將多臺泵并聯取代一臺大泵可能更具優越性。
在變流量系統中,適應系統所需工作點。增加供水可能性,因為當泵出故障時,僅影響系統的部分流量。
如果工作需求變化考慮將兩臺或多臺并聯

感謝您訪問我們揚子江泵業的網站m.110telecom.com,如有任何水泵疑問我們一定會盡心盡力為您提供優質的服務。
- 下一篇:JK型手提式電動油桶泵使用方法
- 上一篇:便拆式立式雙吸泵功能特點











